FIAT 132 sylinteriputki
                    
                    FIAT 132 Sylinteriputki suosittuja valmistajia
                    
                 
             
         
     
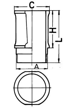
    Sylinteriputki malleille FIAT 132
    
                    
                
                    
                         
                    
                    
                        FIAT 132 (132_)                    
                 
             
             
 
            Muut osat autoosi
                    
    
                    
                
                    
                         Moottoriöljy
                                        
                        Moottoriöljy
                    
                 
             
                    
                
                    
                         Moottorin kumityyny
                                        
                        Moottorin kumityyny
                    
                 
             
                    
                
                    
                         Kierretulppa
                                        
                        Kierretulppa
                    
                 
             
                    
                
                    
                         Kannen pultit
                                        
                        Kannen pultit
                    
                 
             
                    
                
                    
                         Öljytikku
                                        
                        Öljytikku
                    
                 
             
                    
                
                    
                         Huohotin
                                        
                        Huohotin
                    
                 
             
                    
                
                    
                         Öljypohja
                                        
                        Öljypohja
                    
                 
             
                    
                
                    
                         Öljykorkki
                                        
                        Öljykorkki
                    
                 
             
                    
                
                    
                         Kiertokangen laakeri
                                        
                        Kiertokangen laakeri
                    
                 
             
                    
                
                    
                         Hydraulinen venttiilinnostin
                                        
                        Hydraulinen venttiilinnostin
                    
                 
             
                    
                
                    
                         Männänrenkaat
                                        
                        Männänrenkaat
                    
                 
             
                    
                
                    
                         Öljytason anturi
                                        
                        Öljytason anturi
                    
                 
             
                    
                
                    
                         Tiivistesarja kampikammio
                                        
                        Tiivistesarja kampikammio
                    
                 
             
                    
                
                    
                         Pakoventtiili
                                        
                        Pakoventtiili
                    
                 
             
                    
                
                    
                         Tiivistesarja sylinterikansi
                                        
                        Tiivistesarja sylinterikansi
                    
                 
             
                    
                
                    
                         Nokka-akseli
                                        
                        Nokka-akseli
                    
                 
             
                    
                
                    
                         Öljypumppu
                                        
                        Öljypumppu
                    
                 
             
                    
                
                    
                         Imuventtiili
                                        
                        Imuventtiili
                    
                 
             
        
     
    
 
        
    
    
    
    
        
            
Sylinteriputki Fiat 132: Suosituimmat tuotteet merkiltä Netistä luettelo
        
     
    
    
                    
                
                    
                        
                             Tuotekuvaus
                            Tuotekuvaus
                         
                        
                            
                                - 
            
                Pituus (mm):
                            
            167,000
        
- 
            
                Korvaava tuote / korvaava tiedote 2:
                            
            kuivat sylinteriputket
        
- 
            
                Läpimitta [mm]:
                            
            97,500
        
- 
            
                Sylinterin halkaisija [mm]:
                            
            93
        
- 
            
                Laipan halkaisija [mm]:
                            
            100,900
        
- 
            
                Käsittely:
                            
            Puoli
        
- 
            
                Sylinteriputki:
                            
            Ilman sisäsylinterin rengasta
        
- 
            
                Leveys (mm):
                            
            5,000
        
- 
            
                Tila:
                            
            Täysin
        
 
                        
                            varastossa
                        
                        Tiedot
                     
                    
                                            
                    
                         
                                        
                    
                    
                    
                    
                    
                                            
                    
                 
                
                                    
                        
                        
                            
                        
                    
                             
                    
                
                    
                        
                             Tuotekuvaus
                            Tuotekuvaus
                         
                        
                            
                                - 
            
                Pituus (mm):
                            
            167,000
        
- 
            
                Korvaava tuote / korvaava tiedote 2:
                            
            kuivat sylinteriputket
        
- 
            
                Läpimitta [mm]:
                            
            97,580
        
- 
            
                Sylinterin halkaisija [mm]:
                            
            93
        
- 
            
                Laipan halkaisija [mm]:
                            
            100,900
        
- 
            
                Käsittely:
                            
            Puoli
        
- 
            
                Sylinteriputki:
                            
            Ilman sisäsylinterin rengasta
        
- 
            
                Leveys (mm):
                            
            5,000
        
- 
            
                Tila:
                            
            Täysin
        
 
                        
                            varastossa
                        
                        Tiedot
                     
                    
                                            
                    
                         
                                        
                    
                    
                    
                    
                    
                                            
                    
                 
                
                                    
                        
                        
                            
                        
                    
                             
                    
                
                    
                        
                             Tuotekuvaus
                            Tuotekuvaus
                         
                        
                            
                                - 
            
                Pituus (mm):
                            
            134,500
        
- 
            
                Korvaava tuote / korvaava tiedote 2:
                            
            märät sylinteriputket
        
- 
            
                Läpimitta [mm]:
                            
            79,500
        
- 
            
                Sylinterin halkaisija [mm]:
                            
            75
        
- 
            
                Laipan halkaisija [mm]:
                            
            89,200
        
- 
            
                Käsittely:
                            
            hoonattu
        
- 
            
                Sylinteriputki:
                            
            Ilman sisäsylinterin rengasta
        
- 
            
                Leveys (mm):
                            
            90,000
        
- 
            
                Tila:
                            
            Täysin
        
 
                        
                            varastossa
                        
                        Tiedot
                     
                    
                                            
                    
                         
                                        
                    
                    
                    
                    
                    
                                            
                    
                 
                
                                    
                        
                        
                            
                        
                    
                             
                    
                
                    
                        
                             Tuotekuvaus
                            Tuotekuvaus
                         
                        
                            
                                - 
            
                Pituus (mm):
                            
            156
        
- 
            
                Sylinterin halkaisija [mm]:
                            
            85
        
- 
            
                Läpimitta [mm]:
                            
            89
        
- 
            
                Laipan halkaisija [mm]:
                            
            90,5
        
- 
            
                Tila:
                            
            Täysin
        
 
                        
                            varastossa
                        
                        Tiedot
                     
                    
                                            
                    
                         
                                        
                    
                    
                    
                    
                    
                                            
                    
                 
                
                                    
                        
                        
                            
                        
                    
                             
                    
                
                    
                        
                             Tuotekuvaus
                            Tuotekuvaus
                         
                        
                            
                                - 
            
                Pituus (mm):
                            
            141,000
        
- 
            
                Korvaava tuote / korvaava tiedote 2:
                            
            märät sylinteriputket
        
- 
            
                Läpimitta [mm]:
                            
            88,000
        
- 
            
                Sylinterin halkaisija [mm]:
                            
            83
        
- 
            
                Laipan halkaisija [mm]:
                            
            97,000
        
- 
            
                Suositellun tarvikkeen tuotenumero:
                            
            1 NB O-Ring HR566
        
- 
            
                Käsittely:
                            
            hoonattu
        
- 
            
                Sylinteriputki:
                            
            Ilman sisäsylinterin rengasta
        
- 
            
                Leveys (mm):
                            
            95,130
        
- 
            
                Tila:
                            
            Täysin
        
 
                        
                            varastossa
                        
                        Tiedot
                     
                    
                                            
                    
                         
                                        
                    
                    
                    
                    
                    
                                            
                    
                 
                
                                    
                        
                        
                            
                        
                    
                             
                    
                
                    
                        
                             Tuotekuvaus
                            Tuotekuvaus
                         
                        
                            
                                - 
            
                Pituus (mm):
                            
            142,000
        
- 
            
                Korvaava tuote / korvaava tiedote 2:
                            
            kuivat sylinteriputket
        
- 
            
                etäisyys männän laen reuna - 1.männänrengasura [mm]:
                            
            5
        
- 
            
                Läpimitta [mm]:
                            
            78,000
        
- 
            
                Sylinterin halkaisija [mm]:
                            
            75
        
- 
            
                Laipan halkaisija [mm]:
                            
            79,500
        
- 
            
                Sylinteriputki:
                            
            Ilman sisäsylinterin rengasta
        
- 
            
                Tila:
                            
            Täysin
        
 
                        
                            varastossa
                        
                        Tiedot
                     
                    
                                            
                    
                         
                                        
                    
                    
                    
                    
                    
                                            
                    
                 
                
                                    
                        
                        
                            
                        
                    
                             
                    
                
                    
                        
                             Tuotekuvaus
                            Tuotekuvaus
                         
                        
                            
                                - 
            
                Pituus (mm):
                            
            156,000
        
- 
            
                Korvaava tuote / korvaava tiedote 2:
                            
            kuivat sylinteriputket
        
- 
            
                Läpimitta [mm]:
                            
            89,000
        
- 
            
                Sylinterin halkaisija [mm]:
                            
            86
        
- 
            
                Laipan halkaisija [mm]:
                            
            90,500
        
- 
            
                Käsittely:
                            
            Puoli
        
- 
            
                Sylinteriputki:
                            
            Ilman sisäsylinterin rengasta
        
- 
            
                Leveys (mm):
                            
            5,000
        
- 
            
                Tila:
                            
            Täysin
        
 
                        
                            varastossa
                        
                        Tiedot
                     
                    
                                            
                    
                         
                                        
                    
                    
                    
                    
                    
                                            
                    
                 
                
                                    
                        
                        
                            
                        
                    
                             
                    
                
                    
                        
                             Tuotekuvaus
                            Tuotekuvaus
                         
                        
                            
                                - 
            
                Pituus (mm):
                            
            134,500
        
- 
            
                Korvaava tuote / korvaava tiedote 2:
                            
            märät sylinteriputket
        
- 
            
                Läpimitta [mm]:
                            
            79,500
        
- 
            
                Sylinterin halkaisija [mm]:
                            
            75
        
- 
            
                Laipan halkaisija [mm]:
                            
            89,200
        
- 
            
                Käsittely:
                            
            hoonattu
        
- 
            
                Sylinteriputki:
                            
            Sisäsylinterin renkaalla
        
- 
            
                Leveys (mm):
                            
            90,000
        
- 
            
                Tila:
                            
            Täysin
        
 
                        
                            varastossa
                        
                        Tiedot
                     
                    
                                            
                    
                         
                                        
                    
                    
                    
                    
                    
                                            
                    
                 
                
                                    
                        
                        
                            
                        
                    
                             
                    
                
                    
                        
                             Tuotekuvaus
                            Tuotekuvaus
                         
                        
                            
                                - 
            
                Pituus (mm):
                            
            154,000
        
- 
            
                Korvaava tuote / korvaava tiedote 2:
                            
            kuivat sylinteriputket
        
- 
            
                Läpimitta [mm]:
                            
            87,000
        
- 
            
                Sylinterin halkaisija [mm]:
                            
            82,6
        
- 
            
                Laipan halkaisija [mm]:
                            
            89,000
        
- 
            
                Käsittely:
                            
            Puoli
        
- 
            
                Sylinteriputki:
                            
            Ilman sisäsylinterin rengasta
        
- 
            
                Leveys (mm):
                            
            4,550
        
- 
            
                Tila:
                            
            Täysin
        
 
                        
                            varastossa
                        
                        Tiedot
                     
                    
                                            
                    
                         
                                        
                    
                    
                    
                    
                    
                                            
                    
                 
                
                                    
                        
                        
                            
                        
                    
                             
                    
                
                    
                        
                             Tuotekuvaus
                            Tuotekuvaus
                         
                        
                            
                                - 
            
                Pituus (mm):
                            
            154,000
        
- 
            
                Korvaava tuote / korvaava tiedote 2:
                            
            kuivat sylinteriputket
        
- 
            
                Läpimitta [mm]:
                            
            86,060
        
- 
            
                Sylinterin halkaisija [mm]:
                            
            82,6
        
- 
            
                Laipan halkaisija [mm]:
                            
            89,000
        
- 
            
                Käsittely:
                            
            Puoli
        
- 
            
                Sylinteriputki:
                            
            Ilman sisäsylinterin rengasta
        
- 
            
                Leveys (mm):
                            
            4,500
        
- 
            
                Tila:
                            
            Täysin
        
 
                        
                            varastossa
                        
                        Tiedot
                     
                    
                                            
                    
                         
                                        
                    
                    
                    
                    
                    
                                            
                    
                 
                
                                    
                        
                        
                            
                        
                    
                             
                    
                
                    
                        
                             Tuotekuvaus
                            Tuotekuvaus
                         
                        
                            
                                - 
            
                Pituus (mm):
                            
            135,4
        
- 
            
                Korvaava tuote / korvaava tiedote 2:
                            
            märät sylinteriputket
        
- 
            
                Läpimitta [mm]:
                            
            79,5
        
- 
            
                Sylinterin halkaisija [mm]:
                            
            75
        
- 
            
                Laipan halkaisija [mm]:
                            
            89,2
        
- 
            
                Käsittely:
                            
            viimeistelty
        
- 
            
                Komponenttinumero:
                            
            81831
        
- 
            
                Tila:
                            
            Täysin
        
 
                        
                            varastossa
                        
                        Tiedot
                     
                    
                                            
                    
                         
                                        
                    
                    
                    
                    
                    
                                            
                    
                 
                
                                    
                        
                        
                            
                        
                    
                             
                    
                
                    
                        
                             Tuotekuvaus
                            Tuotekuvaus
                         
                        
                            
                                - 
            
                Pituus (mm):
                            
            141,000
        
- 
            
                Korvaava tuote / korvaava tiedote 2:
                            
            märät sylinteriputket
        
- 
            
                Läpimitta [mm]:
                            
            88,000
        
- 
            
                Sylinterin halkaisija [mm]:
                            
            83
        
- 
            
                Laipan halkaisija [mm]:
                            
            97,000
        
- 
            
                Käsittely:
                            
            hoonattu
        
- 
            
                Sylinteriputki:
                            
            Sisäsylinterin renkaalla
        
- 
            
                Leveys (mm):
                            
            95,130
        
- 
            
                Tila:
                            
            Täysin
        
 
                        
                            varastossa
                        
                        Tiedot
                     
                    
                                            
                    
                         
                                        
                    
                    
                    
                    
                    
                                            
                    
                 
                
                                    
                        
                        
                            
                        
                    
                             
                    
                
                    
                        
                             Tuotekuvaus
                            Tuotekuvaus
                         
                        
                            
                                - 
            
                Pituus (mm):
                            
            154,000
        
- 
            
                Korvaava tuote / korvaava tiedote 2:
                            
            kuivat sylinteriputket
        
- 
            
                Läpimitta [mm]:
                            
            86,000
        
- 
            
                Sylinterin halkaisija [mm]:
                            
            82,6
        
- 
            
                Laipan halkaisija [mm]:
                            
            89,000
        
- 
            
                Käsittely:
                            
            Puoli
        
- 
            
                Sylinteriputki:
                            
            Ilman sisäsylinterin rengasta
        
- 
            
                Leveys (mm):
                            
            4,500
        
- 
            
                Tila:
                            
            Täysin
        
 
                        
                            varastossa
                        
                        Tiedot
                     
                    
                                            
                    
                         
                                        
                    
                    
                    
                    
                    
                                            
                    
                 
                
                                    
                        
                        
                            
                        
                    
                             
                    
                
                    
                        
                             Tuotekuvaus
                            Tuotekuvaus
                         
                        
                            
                                - 
            
                Pituus (mm):
                            
            141
        
- 
            
                Korvaava tuote / korvaava tiedote 2:
                            
            märät sylinteriputket
        
- 
            
                Läpimitta [mm]:
                            
            88,6
        
- 
            
                Sylinterin halkaisija [mm]:
                            
            83
        
- 
            
                Laipan halkaisija [mm]:
                            
            97
        
- 
            
                Käsittely:
                            
            viimeistelty
        
- 
            
                Komponenttinumero:
                            
            35651
        
- 
            
                Tila:
                            
            Täysin
        
 
                        
                            varastossa
                        
                        Tiedot
                     
                    
                                            
                    
                         
                                        
                    
                    
                    
                    
                    
                                            
                    
                 
                
                                    
                        
                        
                            
                        
                    
                             
                    
                
                    
                        
                             Tuotekuvaus
                            Tuotekuvaus
                         
                        
                            
                                - 
            
                Pituus (mm):
                            
            154
        
- 
            
                Korvaava tuote / korvaava tiedote 2:
                            
            kuivat sylinteriputket
        
- 
            
                Läpimitta [mm]:
                            
            83
        
- 
            
                Sylinterin halkaisija [mm]:
                            
            80
        
- 
            
                Paksuus [mm]:
                            
            4,5
        
- 
            
                Laipan halkaisija [mm]:
                            
            86
        
- 
            
                Tila:
                            
            Täysin
        
 
                        
                            varastossa
                        
                        Tiedot
                     
                    
                                            
                    
                         
                                        
                    
                    
                    
                    
                    
                                            
                    
                 
                
                                    
                        
                        
                            
                        
                    
                             
                    
                
                    
                        
                             Tuotekuvaus
                            Tuotekuvaus
                         
                        
                            
                                - 
            
                Paksuus [mm]:
                            
            1
        
- 
            
                Leveys (mm):
                            
            78
        
- 
            
                Tila:
                            
            Täysin
        
 
                        
                            varastossa
                        
                        Tiedot
                     
                    
                                            
                    
                         
                                        
                    
                    
                    
                    
                    
                                            
                    
                 
                
                                    
                        
                        
                            
                        
                    
                             
                    
                
                    
                        
                             Tuotekuvaus
                            Tuotekuvaus
                         
                        
                            
                                - 
            
                Pituus (mm):
                            
            155
        
- 
            
                Laipan halkaisija [mm]:
                            
            91
        
- 
            
                Tila:
                            
            Täysin
        
 
                        
                            varastossa
                        
                        Tiedot
                     
                    
                                            
                    
                         
                                        
                        
                            ENGITECH ENT069005 STD Sylinteriputki                                                
                                                            Tuotenumero: ENT069005 STD
                                                    
                     
                    
                    
                    
                    
                    
                                            
                    
                 
                
                                    
                        
                        
                            
                        
                    
                             
                    
                
                    
                        
                             Tuotekuvaus
                            Tuotekuvaus
                         
                        
                            
                                - 
            
                Pituus (mm):
                            
            136,000
        
- 
            
                Korvaava tuote / korvaava tiedote 2:
                            
            kuivat sylinteriputket
        
- 
            
                Läpimitta [mm]:
                            
            76,950
        
- 
            
                Sylinterin halkaisija [mm]:
                            
            73,7
        
- 
            
                Laipan halkaisija [mm]:
                            
            78,450
        
- 
            
                Käsittely:
                            
            Puoli
        
- 
            
                Sylinteriputki:
                            
            Ilman sisäsylinterin rengasta
        
- 
            
                Leveys (mm):
                            
            5,250
        
- 
            
                Tila:
                            
            Täysin
        
 
                        
                            varastossa
                        
                        Tiedot
                     
                    
                                            
                    
                         
                                        
                    
                    
                    
                    
                    
                                            
                    
                 
                
                                    
                        
                        
                            
                        
                    
                             
             
    
 
    
    
    
        
            
                
                    Erittäin edullista
                
                Aina edulliset hinnat ja erinomainen palvelu Topautoosat.fi-kaupassa
             
         
        
            
                
                    Ilmainen toimitus
                
                Ilmaiset toimitukset Suomeen yli 160 € ostoksille – pois lukien suurikokoiset tuotteet, vaihto-osat ja renkaat.
             
         
        
            
                
                    Maksutavat
                
                Saatavilla on erilaisia maksutapoja, kuten PayPal, luottokortti ja Klarna.
             
         
        
            
                
                    Laaja valikoima
                
                Valitse yli 2 500 000 varaosan valikoimasta.